ГОСТ 8.600-2011 Государственная система обеспечения единства измерений. Автоцистерны для жидких нефтепродуктов. Методика поверки

Категории ГОСТ 8.600-2011 по ОКС:
Статус документа:
действует, введён в действие 01.01.2013
Название на английском языке:
State system for ensuring the uniformity of measurements. Vehicle tanks for oil product liquids. Verification procedure
Дата актуализации информации по стандарту:
22.01.2026, в 19:57 (менее месяца назад)
Вид стандарта:
Основополагающие стандарты
Дата начала действия ГОСТа:
2013-01-01
Дата последнего издания документа:
2019-03-14
Коды документа ГОСТ 8.600-2011:
Код КГС:
Т88
Число страниц:
42
Назначение ГОСТ 8.600-2011:
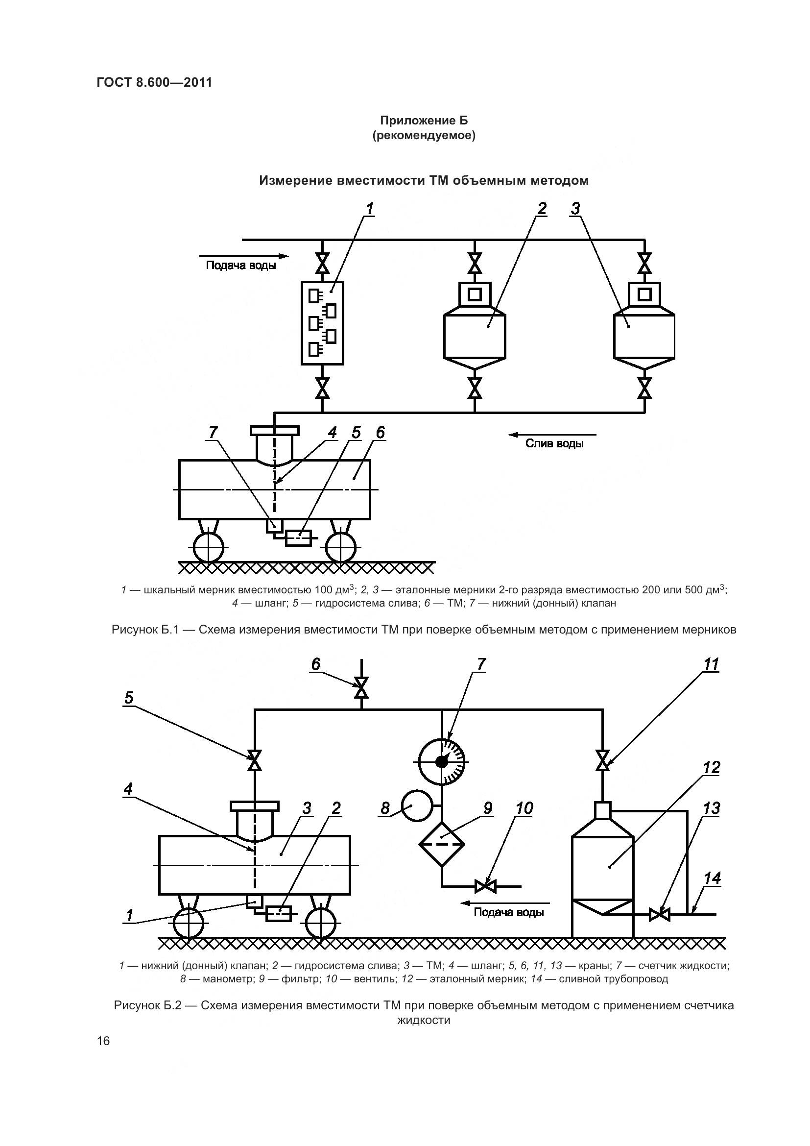
Настоящий стандарт распространяется на автоцистерны, прицепы-цистерны и полуприцепы-цистерны для жидких нефтепродуктов по ГОСТ 26098, являющиеся транспортными мерами полной вместимости и служащие для измерения объема нефтепродуктов с погрешностью, не превышающей значения, указанного в эксплуатационной документации на транспортные меры, и устанавливает методику их поверки
Документ разработан орг-ей:
Федеральное агентство по техническому регулированию и метрологии (Росстандарт)
Документ принят орг-ей:
Межгосударственный Совет по стандартизации метрологии и сертификации, протокол №40-2011
Ключевые слова документа:
автоцистерна, весы, взвешивание, вместимость, вода, капля, количество, мерник, наполнение, операция, платформа, поверка, погрешность, полуприцеп, прицеп, расширение, слив, средства поверки, счетчик, температура, цистерна

Скачать ГОСТ 8.600-2011 вы можете в следующих версиях:

Тип файла:
Дата добавления:
Загрузок:
Размер:
Тип файла:
PDF с изображениями
Добавлен:
20/11/2025 13:54
Скачиваний:
41
Размер файла:
10.66 Мб

Поправки и изменения к ГОСТ 8.600-2011:

  • Наименование, вид:
    Дата
    регистрации:
    начала действия:
  • Изменение №1 к ГОСТ 8.600-2011

    Тип изменения: Текстовое изменение; Изменены ссылочные НД
    Номер изменения: 1
    Регистрационный номер: 1167-ст
    Новое значение: Заменяется: ГОСТ 29329-92 на ГОСТ OIML R 76-1-2011 Вводится: ГОСТ 427-75,ГОСТ 7502-98 Отменяется: ГОСТ 2761-84,ГОСТ 2874-82

    2022-10-21
    2022-11-01
  • Поправка к ГОСТ 8.600-2011

    Тип изменения: Поправка
    Номер изменения:
    Регистрационный номер: -

    2015-09-08
    2015-09-08
  • ГОСТ 8.600-2011, страница 1 страница 1
  • ГОСТ 8.600-2011, страница 2 страница 2
  • ГОСТ 8.600-2011, страница 3 страница 3
  • ГОСТ 8.600-2011, страница 4 страница 4
  • ГОСТ 8.600-2011, страница 5 страница 5
  • ГОСТ 8.600-2011, страница 6 страница 6
  • ГОСТ 8.600-2011, страница 7 страница 7
  • ГОСТ 8.600-2011, страница 8 страница 8
  • ГОСТ 8.600-2011, страница 9 страница 9
  • ГОСТ 8.600-2011, страница 10 страница 10
  • ГОСТ 8.600-2011, страница 11 страница 11
  • ГОСТ 8.600-2011, страница 12 страница 12
  • ГОСТ 8.600-2011, страница 13 страница 13
  • ГОСТ 8.600-2011, страница 14 страница 14
  • ГОСТ 8.600-2011, страница 15 страница 15
  • ГОСТ 8.600-2011, страница 16 страница 16
  • ГОСТ 8.600-2011, страница 17 страница 17
  • ГОСТ 8.600-2011, страница 18 страница 18
  • ГОСТ 8.600-2011, страница 19 страница 19
  • ГОСТ 8.600-2011, страница 20 страница 20
  • ГОСТ 8.600-2011, страница 21 страница 21
  • ГОСТ 8.600-2011, страница 22 страница 22
  • ГОСТ 8.600-2011, страница 23 страница 23
  • ГОСТ 8.600-2011, страница 24 страница 24
  • ГОСТ 8.600-2011, страница 25 страница 25
  • ГОСТ 8.600-2011, страница 26 страница 26
  • ГОСТ 8.600-2011, страница 27 страница 27
  • ГОСТ 8.600-2011, страница 28 страница 28
  • ГОСТ 8.600-2011, страница 29 страница 29
  • ГОСТ 8.600-2011, страница 30 страница 30
  • ГОСТ 8.600-2011, страница 31 страница 31
  • ГОСТ 8.600-2011, страница 32 страница 32
  • ГОСТ 8.600-2011, страница 33 страница 33
  • ГОСТ 8.600-2011, страница 34 страница 34
  • ГОСТ 8.600-2011, страница 35 страница 35
  • ГОСТ 8.600-2011, страница 36 страница 36
  • ГОСТ 8.600-2011, страница 37 страница 37
  • ГОСТ 8.600-2011, страница 38 страница 38
  • ГОСТ 8.600-2011, страница 39 страница 39
  • ГОСТ 8.600-2011, страница 40 страница 40
  • ГОСТ 8.600-2011, страница 41 страница 41
  • ГОСТ 8.600-2011, страница 42 страница 42