ГОСТ Р МЭК 61217-2013 Аппараты дистанционные для лучевой терапии. Координаты, перемещения и шкалы

Категории ГОСТ Р МЭК 61217-2013 по ОКС:
Статус документа:
действует, введён в действие 01.02.2015
Название на английском языке:
Radiotherapy equipment. Coordinates, movements and scales
Дата актуализации информации по стандарту:
22.10.2025, в 10:41 (менее 3 месяцев назад)
Вид стандарта:
временно не известен
Дата начала действия ГОСТа:
2015-02-01
Число страниц:
60
Назначение ГОСТ Р МЭК 61217-2013:
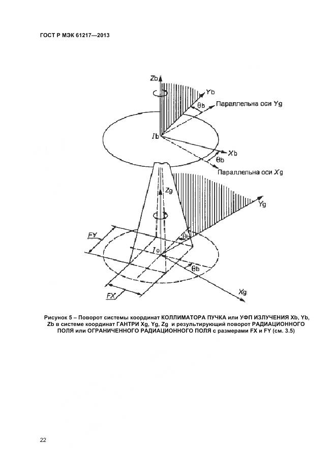
Настоящий стандарт распространяется на оборудование и данные процесса дистанционной лучевой терапии, включая данные изображения пациента, используемые в системах планирования облучения, к симуляторам для лучевой терапии, изоцентрическим гамма-терапевтическим аппаратам, изоцентрическим медицинским электронным ускорителям и относящемуся к ним неизоцентрическому оборудованию. Предметом настоящего стандарта является описание комплекса координатных систем, используемых в дистанционной лучевой терапии, шкал (если они используются), движений аппаратов, применяемых в этом процессе, и обеспечение компьютерного управления (если оно используется)
Документ разработан орг-ей:
Федеральное агентство по техническому регулированию и метрологии (Росстандарт)
Ключевые слова документа:
источник, координаты, лучевая терапия, облучение, перемещение, приемник изображения, пучок, шкала

Скачать ГОСТ Р МЭК 61217-2013 вы можете в следующих версиях:

Тип файла:
Дата добавления:
Загрузок:
Размер:
Тип файла:
PDF с изображениями
Добавлен:
20/11/2025 16:16
Скачиваний:
3
Размер файла:
3.95 Мб
  • ГОСТ Р МЭК 61217-2013, страница 1 страница 1
  • ГОСТ Р МЭК 61217-2013, страница 2 страница 2
  • ГОСТ Р МЭК 61217-2013, страница 3 страница 3
  • ГОСТ Р МЭК 61217-2013, страница 4 страница 4
  • ГОСТ Р МЭК 61217-2013, страница 5 страница 5
  • ГОСТ Р МЭК 61217-2013, страница 6 страница 6
  • ГОСТ Р МЭК 61217-2013, страница 7 страница 7
  • ГОСТ Р МЭК 61217-2013, страница 8 страница 8
  • ГОСТ Р МЭК 61217-2013, страница 9 страница 9
  • ГОСТ Р МЭК 61217-2013, страница 10 страница 10
  • ГОСТ Р МЭК 61217-2013, страница 11 страница 11
  • ГОСТ Р МЭК 61217-2013, страница 12 страница 12
  • ГОСТ Р МЭК 61217-2013, страница 13 страница 13
  • ГОСТ Р МЭК 61217-2013, страница 14 страница 14
  • ГОСТ Р МЭК 61217-2013, страница 15 страница 15
  • ГОСТ Р МЭК 61217-2013, страница 16 страница 16
  • ГОСТ Р МЭК 61217-2013, страница 17 страница 17
  • ГОСТ Р МЭК 61217-2013, страница 18 страница 18
  • ГОСТ Р МЭК 61217-2013, страница 19 страница 19
  • ГОСТ Р МЭК 61217-2013, страница 20 страница 20
  • ГОСТ Р МЭК 61217-2013, страница 21 страница 21
  • ГОСТ Р МЭК 61217-2013, страница 22 страница 22
  • ГОСТ Р МЭК 61217-2013, страница 23 страница 23
  • ГОСТ Р МЭК 61217-2013, страница 24 страница 24
  • ГОСТ Р МЭК 61217-2013, страница 25 страница 25
  • ГОСТ Р МЭК 61217-2013, страница 26 страница 26
  • ГОСТ Р МЭК 61217-2013, страница 27 страница 27
  • ГОСТ Р МЭК 61217-2013, страница 28 страница 28
  • ГОСТ Р МЭК 61217-2013, страница 29 страница 29
  • ГОСТ Р МЭК 61217-2013, страница 30 страница 30
  • ГОСТ Р МЭК 61217-2013, страница 31 страница 31
  • ГОСТ Р МЭК 61217-2013, страница 32 страница 32
  • ГОСТ Р МЭК 61217-2013, страница 33 страница 33
  • ГОСТ Р МЭК 61217-2013, страница 34 страница 34
  • ГОСТ Р МЭК 61217-2013, страница 35 страница 35
  • ГОСТ Р МЭК 61217-2013, страница 36 страница 36
  • ГОСТ Р МЭК 61217-2013, страница 37 страница 37
  • ГОСТ Р МЭК 61217-2013, страница 38 страница 38
  • ГОСТ Р МЭК 61217-2013, страница 39 страница 39
  • ГОСТ Р МЭК 61217-2013, страница 40 страница 40
  • ГОСТ Р МЭК 61217-2013, страница 41 страница 41
  • ГОСТ Р МЭК 61217-2013, страница 42 страница 42
  • ГОСТ Р МЭК 61217-2013, страница 43 страница 43
  • ГОСТ Р МЭК 61217-2013, страница 44 страница 44
  • ГОСТ Р МЭК 61217-2013, страница 45 страница 45
  • ГОСТ Р МЭК 61217-2013, страница 46 страница 46
  • ГОСТ Р МЭК 61217-2013, страница 47 страница 47
  • ГОСТ Р МЭК 61217-2013, страница 48 страница 48
  • ГОСТ Р МЭК 61217-2013, страница 49 страница 49
  • ГОСТ Р МЭК 61217-2013, страница 50 страница 50
  • ГОСТ Р МЭК 61217-2013, страница 51 страница 51
  • ГОСТ Р МЭК 61217-2013, страница 52 страница 52
  • ГОСТ Р МЭК 61217-2013, страница 53 страница 53
  • ГОСТ Р МЭК 61217-2013, страница 54 страница 54
  • ГОСТ Р МЭК 61217-2013, страница 55 страница 55
  • ГОСТ Р МЭК 61217-2013, страница 56 страница 56
  • ГОСТ Р МЭК 61217-2013, страница 57 страница 57
  • ГОСТ Р МЭК 61217-2013, страница 58 страница 58
  • ГОСТ Р МЭК 61217-2013, страница 59 страница 59
  • ГОСТ Р МЭК 61217-2013, страница 60 страница 60