ГОСТ Р МЭК 60904-8-2013 Государственная система обеспечения единства измерений. Приборы фотоэлектрические. Часть 8. Измерение спектральной чувствительности фотоэлектрических приборов

Категории ГОСТ Р МЭК 60904-8-2013 по ОКС:
Статус документа:
действует, введён в действие 01.07.2015
Название на английском языке:
State system for ensuring the uniformity of measurements. Photovoltaic devices. Part 8. Measurement of spectral response of a photovoltaic device
Дата актуализации информации по стандарту:
22.10.2025, в 10:41 (менее 3 месяцев назад)
Вид стандарта:
временно не известен
Дата начала действия ГОСТа:
2015-07-01
Коды документа ГОСТ Р МЭК 60904-8-2013:
Код КГС:
Т86
Число страниц:
12
Назначение ГОСТ Р МЭК 60904-8-2013:
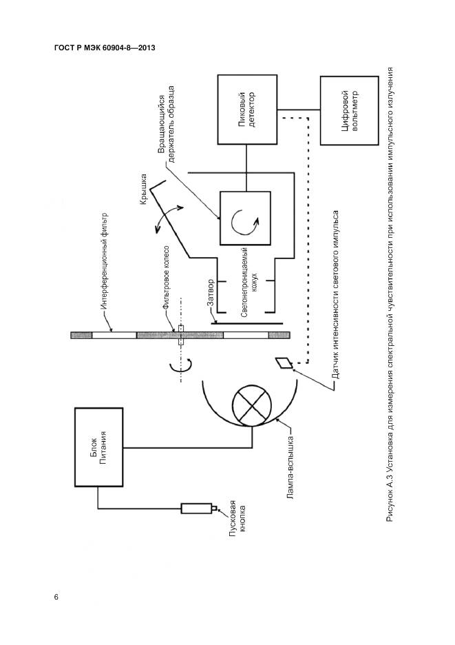
Настоящий стандарт устанавливает требования к измерениям относительной спектральной чувствительности линейных и нелинейных фотоэлектрических приборов. Настоящий стандарт распространяется только на однопереходные фотоэлектрические приборы
Ключевые слова документа:
плотность тока короткого замыкания, смещающее излучение, спектральная чувствительность, фотоэлектрический прибор, фотоэлектрический тонкопленочный прибор

Скачать ГОСТ Р МЭК 60904-8-2013 вы можете в следующих версиях:

Тип файла:
Дата добавления:
Загрузок:
Размер:
Тип файла:
PDF с изображениями
Добавлен:
20/11/2025 16:16
Скачиваний:
6
Размер файла:
0.73 Мб
  • ГОСТ Р МЭК 60904-8-2013, страница 1 страница 1
  • ГОСТ Р МЭК 60904-8-2013, страница 2 страница 2
  • ГОСТ Р МЭК 60904-8-2013, страница 3 страница 3
  • ГОСТ Р МЭК 60904-8-2013, страница 4 страница 4
  • ГОСТ Р МЭК 60904-8-2013, страница 5 страница 5
  • ГОСТ Р МЭК 60904-8-2013, страница 6 страница 6
  • ГОСТ Р МЭК 60904-8-2013, страница 7 страница 7
  • ГОСТ Р МЭК 60904-8-2013, страница 8 страница 8
  • ГОСТ Р МЭК 60904-8-2013, страница 9 страница 9
  • ГОСТ Р МЭК 60904-8-2013, страница 10 страница 10
  • ГОСТ Р МЭК 60904-8-2013, страница 11 страница 11
  • ГОСТ Р МЭК 60904-8-2013, страница 12 страница 12