ГОСТ Р 58336-2018 Упоры уголковые анкерные. Методы испытаний

Категории ГОСТ Р 58336-2018 по ОКС:
Статус документа:
действует, введён в действие 01.07.2019
Название на английском языке:
Anchor angular emphasis. Test methods
Дата актуализации информации по стандарту:
08.11.2025, в 14:18 (менее 3 месяцев назад)
Вид стандарта:
временно не известен
Дата начала действия ГОСТа:
2019-07-01
Число страниц:
20
Назначение ГОСТ Р 58336-2018:
не указано

Скачать ГОСТ Р 58336-2018 вы можете в следующих версиях:

Тип файла:
Дата добавления:
Загрузок:
Размер:
Тип файла:
PDF с изображениями
Добавлен:
20/11/2025 13:57
Скачиваний:
33
Размер файла:
1.19 Мб
  • ГОСТ Р 58336-2018, страница 1 страница 1
  • ГОСТ Р 58336-2018, страница 2 страница 2
  • ГОСТ Р 58336-2018, страница 3 страница 3
  • ГОСТ Р 58336-2018, страница 4 страница 4
  • ГОСТ Р 58336-2018, страница 5 страница 5
  • ГОСТ Р 58336-2018, страница 6 страница 6
  • ГОСТ Р 58336-2018, страница 7 страница 7
  • ГОСТ Р 58336-2018, страница 8 страница 8
  • ГОСТ Р 58336-2018, страница 9 страница 9
  • ГОСТ Р 58336-2018, страница 10 страница 10
  • ГОСТ Р 58336-2018, страница 11 страница 11
  • ГОСТ Р 58336-2018, страница 12 страница 12
  • ГОСТ Р 58336-2018, страница 13 страница 13
  • ГОСТ Р 58336-2018, страница 14 страница 14
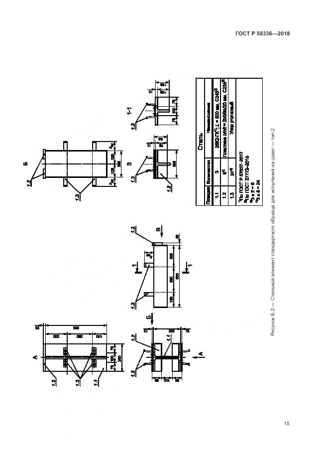
  • ГОСТ Р 58336-2018, страница 15 страница 15
  • ГОСТ Р 58336-2018, страница 16 страница 16
  • ГОСТ Р 58336-2018, страница 17 страница 17
  • ГОСТ Р 58336-2018, страница 18 страница 18
  • ГОСТ Р 58336-2018, страница 19 страница 19
  • ГОСТ Р 58336-2018, страница 20 страница 20