ГОСТ 5746-2015 Лифты пассажирские. Основные параметры и размеры

Категории ГОСТ 5746-2015 по ОКС:
Статус документа:
действует, введён в действие 01.01.2017
Название на английском языке:
Passenger lifts. Basic parameters and dimensions
Дата актуализации информации по стандарту:
23.10.2025, в 15:46 (менее 3 месяцев назад)
Вид стандарта:
Стандарты на продукцию (услуги)
Дата начала действия ГОСТа:
2017-01-01
Дата последнего издания документа:
2016-06-28
Число страниц:
25
Назначение ГОСТ 5746-2015:
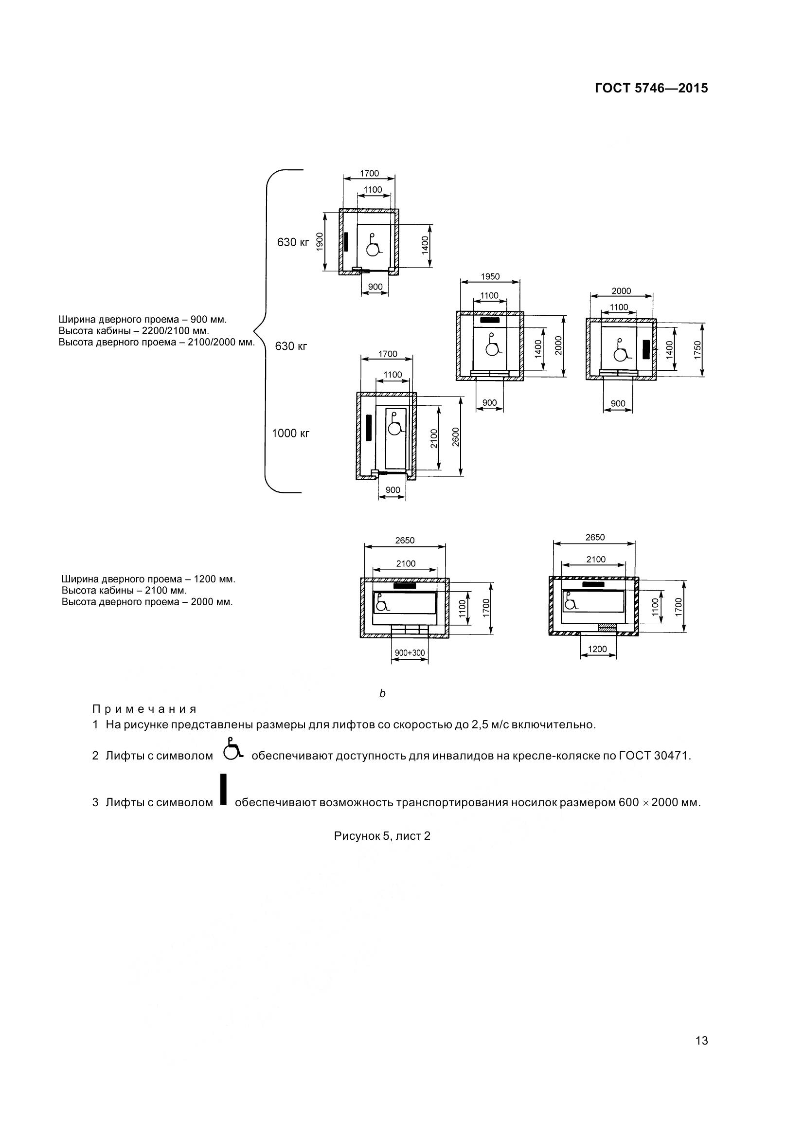
Настоящий стандарт распространяется на пассажирские лифты для зданий (сооружений) различного назначения. Пассажирские лифты, включенные в настоящий стандарт, предназначены для установки в новые здания (сооружения). Настоящий стандарт может быть использован в качестве нормативной базы при установке новых лифтов в существующие здания (сооружения)
Документ разработан орг-ей:
Федеральное агентство по техническому регулированию и метрологии (Росстандарт)
Документ принят орг-ей:
Межгосударственный Совет по стандартизации метрологии и сертификации, протокол №48-2015
Ключевые слова документа:
здания и сооружения различного назначения, основные параметры и размеры, пассажирские лифты

Скачать ГОСТ 5746-2015 вы можете в следующих версиях:

Тип файла:
Дата добавления:
Загрузок:
Размер:
Тип файла:
PDF с изображениями
Добавлен:
20/11/2025 15:30
Скачиваний:
6
Размер файла:
4.99 Мб

Поправки и изменения к ГОСТ 5746-2015:

  • Наименование, вид:
    Дата
    регистрации:
    начала действия:
  • Поправка к ГОСТ 5746-2015

    Тип изменения: Поправка
    Номер изменения:
    Регистрационный номер: -

    2023-07-13
    2023-07-13
  • ГОСТ 5746-2015, страница 1 страница 1
  • ГОСТ 5746-2015, страница 2 страница 2
  • ГОСТ 5746-2015, страница 3 страница 3
  • ГОСТ 5746-2015, страница 4 страница 4
  • ГОСТ 5746-2015, страница 5 страница 5
  • ГОСТ 5746-2015, страница 6 страница 6
  • ГОСТ 5746-2015, страница 7 страница 7
  • ГОСТ 5746-2015, страница 8 страница 8
  • ГОСТ 5746-2015, страница 9 страница 9
  • ГОСТ 5746-2015, страница 10 страница 10
  • ГОСТ 5746-2015, страница 11 страница 11
  • ГОСТ 5746-2015, страница 12 страница 12
  • ГОСТ 5746-2015, страница 13 страница 13
  • ГОСТ 5746-2015, страница 14 страница 14
  • ГОСТ 5746-2015, страница 15 страница 15
  • ГОСТ 5746-2015, страница 16 страница 16
  • ГОСТ 5746-2015, страница 17 страница 17
  • ГОСТ 5746-2015, страница 18 страница 18
  • ГОСТ 5746-2015, страница 19 страница 19
  • ГОСТ 5746-2015, страница 20 страница 20
  • ГОСТ 5746-2015, страница 21 страница 21
  • ГОСТ 5746-2015, страница 22 страница 22
  • ГОСТ 5746-2015, страница 23 страница 23
  • ГОСТ 5746-2015, страница 24 страница 24
  • ГОСТ 5746-2015, страница 25 страница 25