ГОСТ Р 55896-2013 Конструкции строительные. Двери для заполнения проемов в ограждениях шахт лифтов. Методы испытаний на огнестойкость

Категории ГОСТ Р 55896-2013 по ОКС:
Статус документа:
принят, введён в действие 01.09.2014
Название на английском языке:
Building structures. Doors the enclosures of lift shaft. Fire resistance test method
Дата актуализации информации по стандарту:
22.01.2026, в 19:57 (менее месяца назад)
Вид стандарта:
временно не известен
Дата начала действия ГОСТа:
2014-09-01
Коды документа ГОСТ Р 55896-2013:
Код ОКП:
483680
Число страниц:
не известно
Назначение ГОСТ Р 55896-2013:
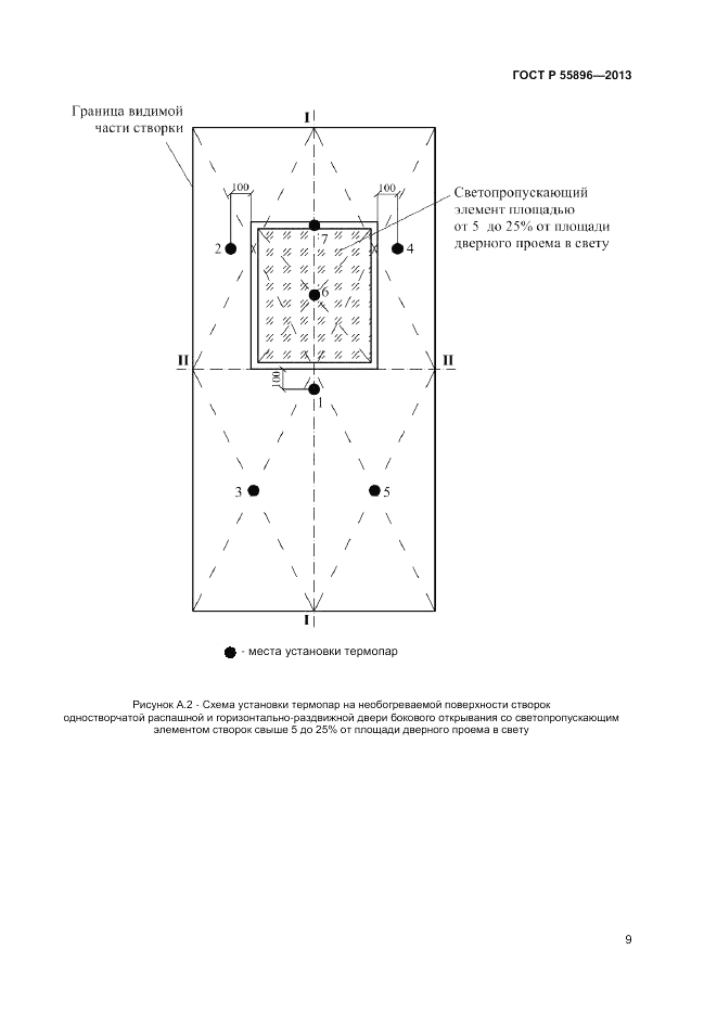
Настоящий стандарт устанавливает метод испытаний на огнестойкость дверей и люков, в соответствии с ГОСТ Р 53780 заполняющими проемы в ограждениях шахт лифтов (далее дверей) и по ФЗ №123 имеющими противопожарное исполнение. Двери закрывают проемы для: - входа и выхода пассажиров и/или загрузки и разгрузки кабины (далее - двери шахт лифтов); - технического обслуживания оборудования; - аварийных действий; - входа в приямок; - смотровых проемов. Требования настоящего стандарта распространяются на двери с теплоизолирующей способностью и без нее: - распашные; - горизонтально-раздвижные бокового открывания и телескопические; - горизонтально-раздвижные центрального открывания; - вертикально-раздвижные центрального и одностороннего открывания. Створки указанных дверей могут содержать светопропускающие элементы, площадь которых от площади проема в свету (далее проема): - до 5 %; - свыше 5 до 25 %; - свыше 25 %. Настоящий стандарт распространяется на проведение испытаний на огнестойкость дверей шахт лифтов, содержащих светопропускающие элементы (остекление), площадь которых от площади проеме в свету свыше 25% до 100%. На двери шахт лифтов, включая двери, содержащие светопропускающие элементы (остекление), площадь которых от площади проеме в свету до 5% и свыше 5% до 25%, следует использовать метод испытания на огнестойкость по ГОСТ 30247.3. Стандарт может быть использован для оценки соответствия продукции требованиям пожарной безопасности
Ключевые слова документа:
дверь шахты, опытный образец, плотность потока теплового излучения, предел огнестойкости, теплоизолирующая способность, целостность

Скачать ГОСТ Р 55896-2013 вы можете в следующих версиях:

Тип файла:
Дата добавления:
Загрузок:
Размер:
Тип файла:
PDF с изображениями
Добавлен:
23/01/2016 18:00
Скачиваний:
32
Размер файла:
0.64 Мб
  • ГОСТ Р 55896-2013, страница 1 страница 1
  • ГОСТ Р 55896-2013, страница 2 страница 2
  • ГОСТ Р 55896-2013, страница 3 страница 3
  • ГОСТ Р 55896-2013, страница 4 страница 4
  • ГОСТ Р 55896-2013, страница 5 страница 5
  • ГОСТ Р 55896-2013, страница 6 страница 6
  • ГОСТ Р 55896-2013, страница 7 страница 7
  • ГОСТ Р 55896-2013, страница 8 страница 8
  • ГОСТ Р 55896-2013, страница 9 страница 9
  • ГОСТ Р 55896-2013, страница 10 страница 10
  • ГОСТ Р 55896-2013, страница 11 страница 11
  • ГОСТ Р 55896-2013, страница 12 страница 12
  • ГОСТ Р 55896-2013, страница 13 страница 13
  • ГОСТ Р 55896-2013, страница 14 страница 14
  • ГОСТ Р 55896-2013, страница 15 страница 15
  • ГОСТ Р 55896-2013, страница 16 страница 16