ГОСТ Р 55510-2013 Арматура трубопроводная. Приводы вращательного действия. Присоединительные размеры

Категории ГОСТ Р 55510-2013 по ОКС:
Статус документа:
действует, введён в действие 01.02.2014
Название на английском языке:
Pipeline valves. Drives of rotary action. The connecting dimensions
Дата актуализации информации по стандарту:
22.01.2026, в 19:57 (менее месяца назад)
Вид стандарта:
временно не известен
Дата начала действия ГОСТа:
2014-02-01
Число страниц:
не известно
Назначение ГОСТ Р 55510-2013:
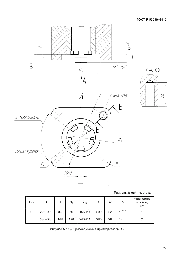
Настоящий стандарт распространяется на приводы и исполнительные механизмы вращательного действия (далее - приводы) (многооборотные и неполноповоротные, электрические, пневматические, гидравлические, а также редукторы) и устанавливает типы присоединений приводов к трубопроводной арматуре, присоединительные размеры приводов и размеры ответных присоединений управляемой ими трубопроводной арматуры
Документ разработан орг-ей:
Федеральное агентство по техническому регулированию и метрологии (Росстандарт)
Ключевые слова документа:
арматура трубопроводная, приводы, размеры, типы присоединений

Скачать ГОСТ Р 55510-2013 вы можете в следующих версиях:

Тип файла:
Дата добавления:
Загрузок:
Размер:
Тип файла:
PDF с изображениями
Добавлен:
23/01/2016 18:36
Скачиваний:
30
Размер файла:
0.9 Мб
  • ГОСТ Р 55510-2013, страница 1 страница 1
  • ГОСТ Р 55510-2013, страница 2 страница 2
  • ГОСТ Р 55510-2013, страница 3 страница 3
  • ГОСТ Р 55510-2013, страница 4 страница 4
  • ГОСТ Р 55510-2013, страница 5 страница 5
  • ГОСТ Р 55510-2013, страница 6 страница 6
  • ГОСТ Р 55510-2013, страница 7 страница 7
  • ГОСТ Р 55510-2013, страница 8 страница 8
  • ГОСТ Р 55510-2013, страница 9 страница 9
  • ГОСТ Р 55510-2013, страница 10 страница 10
  • ГОСТ Р 55510-2013, страница 11 страница 11
  • ГОСТ Р 55510-2013, страница 12 страница 12
  • ГОСТ Р 55510-2013, страница 13 страница 13
  • ГОСТ Р 55510-2013, страница 14 страница 14
  • ГОСТ Р 55510-2013, страница 15 страница 15
  • ГОСТ Р 55510-2013, страница 16 страница 16
  • ГОСТ Р 55510-2013, страница 17 страница 17
  • ГОСТ Р 55510-2013, страница 18 страница 18
  • ГОСТ Р 55510-2013, страница 19 страница 19
  • ГОСТ Р 55510-2013, страница 20 страница 20
  • ГОСТ Р 55510-2013, страница 21 страница 21
  • ГОСТ Р 55510-2013, страница 22 страница 22
  • ГОСТ Р 55510-2013, страница 23 страница 23
  • ГОСТ Р 55510-2013, страница 24 страница 24
  • ГОСТ Р 55510-2013, страница 25 страница 25
  • ГОСТ Р 55510-2013, страница 26 страница 26
  • ГОСТ Р 55510-2013, страница 27 страница 27
  • ГОСТ Р 55510-2013, страница 28 страница 28
  • ГОСТ Р 55510-2013, страница 29 страница 29
  • ГОСТ Р 55510-2013, страница 30 страница 30
  • ГОСТ Р 55510-2013, страница 31 страница 31
  • ГОСТ Р 55510-2013, страница 32 страница 32
  • ГОСТ Р 55510-2013, страница 33 страница 33
  • ГОСТ Р 55510-2013, страница 34 страница 34
  • ГОСТ Р 55510-2013, страница 35 страница 35
  • ГОСТ Р 55510-2013, страница 36 страница 36