ГОСТ Р ИСО 5353-2012 Машины землеройные, тракторы и машины для сельского и лесного хозяйства. Контрольная точка сиденья

Категории ГОСТ Р ИСО 5353-2012 по ОКС:
Статус документа:
действует, введён в действие 01.01.2014
Название на английском языке:
Earth-moving machinery and tractors and machinery for agriculture and forestry. Seat index point
Дата актуализации информации по стандарту:
20.10.2025, в 13:10 (менее 3 месяцев назад)
Вид стандарта:
временно не известен
Дата начала действия ГОСТа:
2014-01-01
Коды документа ГОСТ Р ИСО 5353-2012:
Код ОКП:
472000;473000;481000;481200;481300;481400;483570
Число страниц:
12
Назначение ГОСТ Р ИСО 5353-2012:
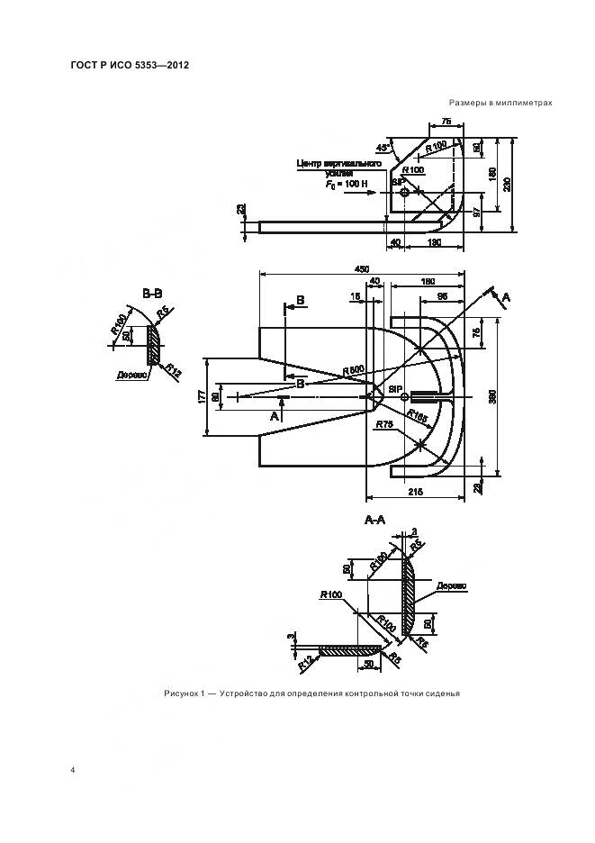
Настоящий стандарт устанавливает метод и средства определения положения контрольной точки сиденья для любого типа сидений, предназначенных для землеройных машин в соответствии с ИСО 6165, а также для тракторов и машин для сельского и лесного хозяйства в соответствии с ИСО 3339-0. Настоящий стандарт устанавливает единообразный метод определения положения точки SIP относительно фиксированной точки на сиденье
Ключевые слова документа:
контрольная точка сиденья, машины землеройные, сиденье, устройство для определения контрольной точки сиденья, фиксированная точка

Скачать ГОСТ Р ИСО 5353-2012 вы можете в следующих версиях:

Тип файла:
Дата добавления:
Загрузок:
Размер:
Тип файла:
PDF с изображениями
Добавлен:
21/11/2025 10:18
Скачиваний:
5
Размер файла:
0.64 Мб
  • ГОСТ Р ИСО 5353-2012, страница 1 страница 1
  • ГОСТ Р ИСО 5353-2012, страница 2 страница 2
  • ГОСТ Р ИСО 5353-2012, страница 3 страница 3
  • ГОСТ Р ИСО 5353-2012, страница 4 страница 4
  • ГОСТ Р ИСО 5353-2012, страница 5 страница 5
  • ГОСТ Р ИСО 5353-2012, страница 6 страница 6
  • ГОСТ Р ИСО 5353-2012, страница 7 страница 7
  • ГОСТ Р ИСО 5353-2012, страница 8 страница 8
  • ГОСТ Р ИСО 5353-2012, страница 9 страница 9
  • ГОСТ Р ИСО 5353-2012, страница 10 страница 10
  • ГОСТ Р ИСО 5353-2012, страница 11 страница 11
  • ГОСТ Р ИСО 5353-2012, страница 12 страница 12