ГОСТ Р 50039-92
ГОСТ Р 50039-92 Машины текстильные и оборудование вспомогательное. Патроны конические для намотки пряжи (крестовая намотка). Половина угла конуса 4°20'. Размеры и методы контроля
Категории ГОСТ Р 50039-92 по ОКС:- 59. Текстиль и кожа
- 59.120. Текстильные машины
- 59.120.20 Мотальные машины и оборудование *включая машины и оборудование для размотки пряжи в мотки, намотки в клубки, сновки, шлихтования, навивки пряжи и т.д.
- Статус документа:
- действует, введён в действие 01.07.1993
- Название на английском языке:
- Textile machinery and accessories. Cones for yarn winding (cross wound). Half angle of the cone 4°20'. Dimensions and checking methods
- Дата актуализации информации по стандарту:
- 17.02.2014, в 17:32 (более года назад)
- Вид стандарта:
- Стандарты на продукцию (услуги)
- Дата начала действия ГОСТа:
- 1993-07-01
- Дата последнего издания документа:
- 1992-09-01
Коды документа ГОСТ Р 50039-92:
- Код ОКП:
- 967140
- Код КГС:
- Г62
- Код ОКСТУ:
- 9671
- Число страниц:
- 6
- Назначение ГОСТ Р 50039-92:
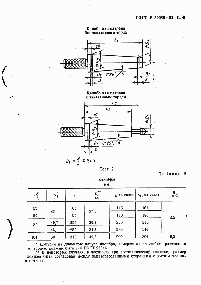
- Настоящий стандарт устанавливает размеры и допуски конических патронов для намотки пряжи (крестовая намотка), имеющих половину угла конуса 4 град. 20', а также размеры и допуски калибров для проверки этих патронов
- ГРНТИ индекс(ы):
- 555929
- Ключевые слова документа:
- машины, патроны
Нормативные ссылки, связанные с ГОСТ Р 50039-92:
- Стандарт ссылается на ГОСТы:
- ГОСТ 25346-89
- На стандарт ссылаются:
- ГОСТ Р ИСО 8489-1-93
Скачать ГОСТ Р 50039-92 вы можете в следующих версиях:
Тип файла:
Дата добавления:
Загрузок:
Размер:
Ссылка на скачивание:
Добавлен:
12/12/2011 02:03
Скачиваний:
87
Размер файла:
0.37 Мб
Ссылка для скачивания:
-
страница 1
-
страница 2
-
страница 3
-
страница 4
-
страница 5
-
страница 6