ГОСТ 34287-2017 Арматура трубопроводная. Приводы вращательного действия. Присоединительные размеры

Категории ГОСТ 34287-2017 по ОКС:
Статус документа:
действует, введён в действие 01.03.2019
Название на английском языке:
Pipeline valves. Drives of rotary action. Connecting dimensions
Дата актуализации информации по стандарту:
06.11.2025, в 10:00 (менее 3 месяцев назад)
Вид стандарта:
Стандарты на продукцию (услуги)
Дата начала действия ГОСТа:
2019-03-01
Дата последнего издания документа:
2018-11-26
Число страниц:
32
Назначение ГОСТ 34287-2017:
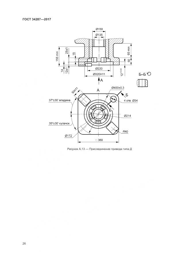
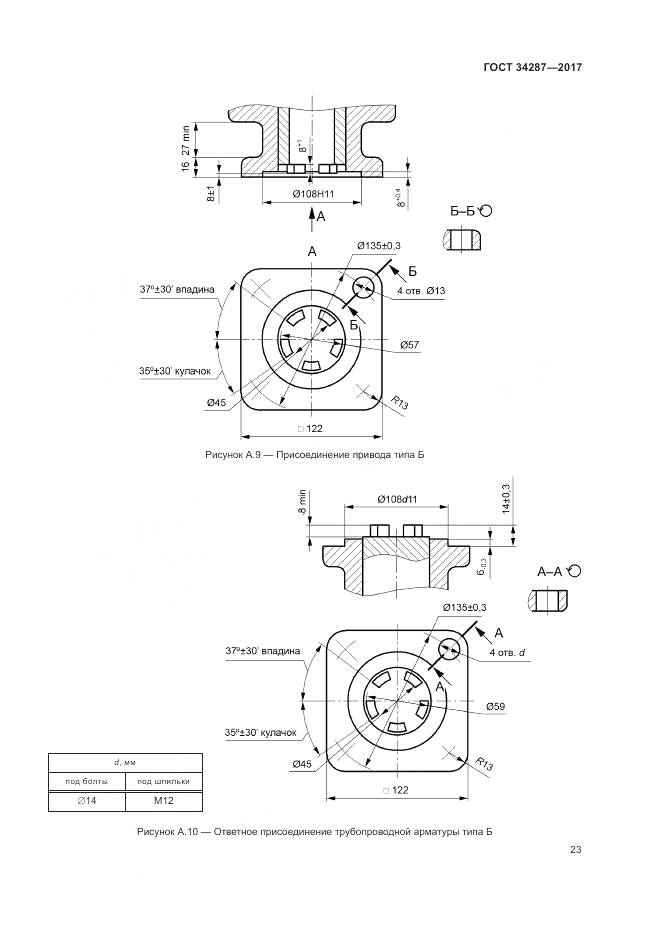
Настоящий стандарт распространяется на приводы и исполнительные механизмы вращательного действия (многооборотные и неполноповоротные, электрические, пневматические, гидравлические, комбинированные, а также редукторы) для управления трубопроводной арматурой. Настоящий стандарт устанавливает типы присоединений приводов к арматуре, присоединительные размеры приводов и размеры ответных присоединений управляемой ими арматуры, номинальные моменты или осевые усилия на детали соединений, размеры которых установлены в стандарте
Документ принят орг-ей:
Межгосударственный Совет по стандартизации метрологии и сертификации, протокол №103-П
Ключевые слова документа:
арматура трубопроводная, приводы, размеры, типы присоединений

Скачать ГОСТ 34287-2017 вы можете в следующих версиях:

Тип файла:
Дата добавления:
Загрузок:
Размер:
Тип файла:
PDF с изображениями
Добавлен:
20/11/2025 14:14
Скачиваний:
5
Размер файла:
1.77 Мб
  • ГОСТ 34287-2017, страница 1 страница 1
  • ГОСТ 34287-2017, страница 2 страница 2
  • ГОСТ 34287-2017, страница 3 страница 3
  • ГОСТ 34287-2017, страница 4 страница 4
  • ГОСТ 34287-2017, страница 5 страница 5
  • ГОСТ 34287-2017, страница 6 страница 6
  • ГОСТ 34287-2017, страница 7 страница 7
  • ГОСТ 34287-2017, страница 8 страница 8
  • ГОСТ 34287-2017, страница 9 страница 9
  • ГОСТ 34287-2017, страница 10 страница 10
  • ГОСТ 34287-2017, страница 11 страница 11
  • ГОСТ 34287-2017, страница 12 страница 12
  • ГОСТ 34287-2017, страница 13 страница 13
  • ГОСТ 34287-2017, страница 14 страница 14
  • ГОСТ 34287-2017, страница 15 страница 15
  • ГОСТ 34287-2017, страница 16 страница 16
  • ГОСТ 34287-2017, страница 17 страница 17
  • ГОСТ 34287-2017, страница 18 страница 18
  • ГОСТ 34287-2017, страница 19 страница 19
  • ГОСТ 34287-2017, страница 20 страница 20
  • ГОСТ 34287-2017, страница 21 страница 21
  • ГОСТ 34287-2017, страница 22 страница 22
  • ГОСТ 34287-2017, страница 23 страница 23
  • ГОСТ 34287-2017, страница 24 страница 24
  • ГОСТ 34287-2017, страница 25 страница 25
  • ГОСТ 34287-2017, страница 26 страница 26
  • ГОСТ 34287-2017, страница 27 страница 27
  • ГОСТ 34287-2017, страница 28 страница 28
  • ГОСТ 34287-2017, страница 29 страница 29
  • ГОСТ 34287-2017, страница 30 страница 30
  • ГОСТ 34287-2017, страница 31 страница 31
  • ГОСТ 34287-2017, страница 32 страница 32