ГОСТ 34057-2017 Соединения резьбовые обсадных, насосно-компрессорных труб, труб для трубопроводов и резьбовые калибры для них. Общие технические требования

Категории ГОСТ 34057-2017 по ОКС:
Статус документа:
действует, введён в действие 01.08.2018
Название на английском языке:
Thread connections for casing, tubing, line pipe and thread gauges for them. General technical requirements
Дата актуализации информации по стандарту:
30.10.2025, в 20:24 (менее 3 месяцев назад)
Вид стандарта:
Стандарты на продукцию (услуги)
Дата начала действия ГОСТа:
2018-08-01
Дата последнего издания документа:
2018-03-16
Коды документа ГОСТ 34057-2017:
Код ОКП:
132100;132700
Код КГС:
В62
Число страниц:
74
Назначение ГОСТ 34057-2017:
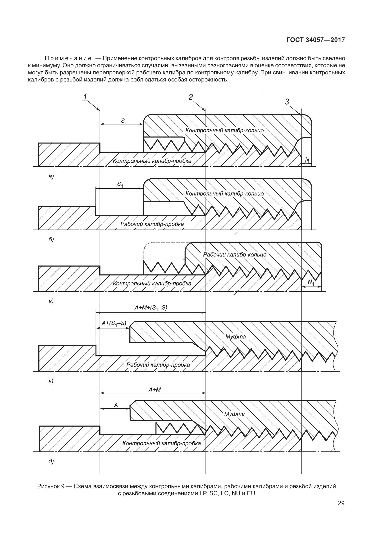
Настоящий стандарт распространяется на резьбовые соединения обсадных, насосно-компрессорных труб и труб для трубопроводов, применяемых в нефтяной и газовой промышленности. Настоящий стандарт устанавливает требования к геометрическим параметрам профиля резьбы и резьбовых соединений, а также требования к резьбовым калибрам для контроля резьбы
Документ принят орг-ей:
Межгосударственный Совет по стандартизации метрологии и сертификации, протокол №95-П
Ключевые слова документа:
геометрические параметры, закругленная треугольная резьба, калибры, контроль, муфты, насосно-компрессорные трубы, обсадные трубы, плоскосрезанная треугольная резьба, резьбовые соединения, трапецеидальная резьба, трубы для трубопроводов

Скачать ГОСТ 34057-2017 вы можете в следующих версиях:

Тип файла:
Дата добавления:
Загрузок:
Размер:
Тип файла:
PDF с изображениями
Добавлен:
20/11/2025 14:24
Скачиваний:
7
Размер файла:
20.41 Мб
  • ГОСТ 34057-2017, страница 1 страница 1
  • ГОСТ 34057-2017, страница 2 страница 2
  • ГОСТ 34057-2017, страница 3 страница 3
  • ГОСТ 34057-2017, страница 4 страница 4
  • ГОСТ 34057-2017, страница 5 страница 5
  • ГОСТ 34057-2017, страница 6 страница 6
  • ГОСТ 34057-2017, страница 7 страница 7
  • ГОСТ 34057-2017, страница 8 страница 8
  • ГОСТ 34057-2017, страница 9 страница 9
  • ГОСТ 34057-2017, страница 10 страница 10
  • ГОСТ 34057-2017, страница 11 страница 11
  • ГОСТ 34057-2017, страница 12 страница 12
  • ГОСТ 34057-2017, страница 13 страница 13
  • ГОСТ 34057-2017, страница 14 страница 14
  • ГОСТ 34057-2017, страница 15 страница 15
  • ГОСТ 34057-2017, страница 16 страница 16
  • ГОСТ 34057-2017, страница 17 страница 17
  • ГОСТ 34057-2017, страница 18 страница 18
  • ГОСТ 34057-2017, страница 19 страница 19
  • ГОСТ 34057-2017, страница 20 страница 20
  • ГОСТ 34057-2017, страница 21 страница 21
  • ГОСТ 34057-2017, страница 22 страница 22
  • ГОСТ 34057-2017, страница 23 страница 23
  • ГОСТ 34057-2017, страница 24 страница 24
  • ГОСТ 34057-2017, страница 25 страница 25
  • ГОСТ 34057-2017, страница 26 страница 26
  • ГОСТ 34057-2017, страница 27 страница 27
  • ГОСТ 34057-2017, страница 28 страница 28
  • ГОСТ 34057-2017, страница 29 страница 29
  • ГОСТ 34057-2017, страница 30 страница 30
  • ГОСТ 34057-2017, страница 31 страница 31
  • ГОСТ 34057-2017, страница 32 страница 32
  • ГОСТ 34057-2017, страница 33 страница 33
  • ГОСТ 34057-2017, страница 34 страница 34
  • ГОСТ 34057-2017, страница 35 страница 35
  • ГОСТ 34057-2017, страница 36 страница 36
  • ГОСТ 34057-2017, страница 37 страница 37
  • ГОСТ 34057-2017, страница 38 страница 38
  • ГОСТ 34057-2017, страница 39 страница 39
  • ГОСТ 34057-2017, страница 40 страница 40
  • ГОСТ 34057-2017, страница 41 страница 41
  • ГОСТ 34057-2017, страница 42 страница 42
  • ГОСТ 34057-2017, страница 43 страница 43
  • ГОСТ 34057-2017, страница 44 страница 44
  • ГОСТ 34057-2017, страница 45 страница 45
  • ГОСТ 34057-2017, страница 46 страница 46
  • ГОСТ 34057-2017, страница 47 страница 47
  • ГОСТ 34057-2017, страница 48 страница 48
  • ГОСТ 34057-2017, страница 49 страница 49
  • ГОСТ 34057-2017, страница 50 страница 50
  • ГОСТ 34057-2017, страница 51 страница 51
  • ГОСТ 34057-2017, страница 52 страница 52
  • ГОСТ 34057-2017, страница 53 страница 53
  • ГОСТ 34057-2017, страница 54 страница 54
  • ГОСТ 34057-2017, страница 55 страница 55
  • ГОСТ 34057-2017, страница 56 страница 56
  • ГОСТ 34057-2017, страница 57 страница 57
  • ГОСТ 34057-2017, страница 58 страница 58
  • ГОСТ 34057-2017, страница 59 страница 59
  • ГОСТ 34057-2017, страница 60 страница 60
  • ГОСТ 34057-2017, страница 61 страница 61
  • ГОСТ 34057-2017, страница 62 страница 62
  • ГОСТ 34057-2017, страница 63 страница 63
  • ГОСТ 34057-2017, страница 64 страница 64
  • ГОСТ 34057-2017, страница 65 страница 65
  • ГОСТ 34057-2017, страница 66 страница 66
  • ГОСТ 34057-2017, страница 67 страница 67
  • ГОСТ 34057-2017, страница 68 страница 68
  • ГОСТ 34057-2017, страница 69 страница 69
  • ГОСТ 34057-2017, страница 70 страница 70
  • ГОСТ 34057-2017, страница 71 страница 71
  • ГОСТ 34057-2017, страница 72 страница 72
  • ГОСТ 34057-2017, страница 73 страница 73
  • ГОСТ 34057-2017, страница 74 страница 74