ГОСТ 33667-2015 Автомобильные транспортные средства. Наконечники проводов к выводам аккумуляторных батарей и стартеров. Технические требования и методы испытаний

Категории ГОСТ 33667-2015 по ОКС:
Статус документа:
действует, введён в действие 01.04.2017
Название на английском языке:
Motor vehicles. Wire tips to the battery and the starter. Technical requirements and test methods
Дата актуализации информации по стандарту:
24.10.2025, в 09:38 (менее 3 месяцев назад)
Вид стандарта:
Стандарты на продукцию (услуги)
Дата начала действия ГОСТа:
2017-04-01
Дата последнего издания документа:
2016-07-13
Число страниц:
16
Назначение ГОСТ 33667-2015:
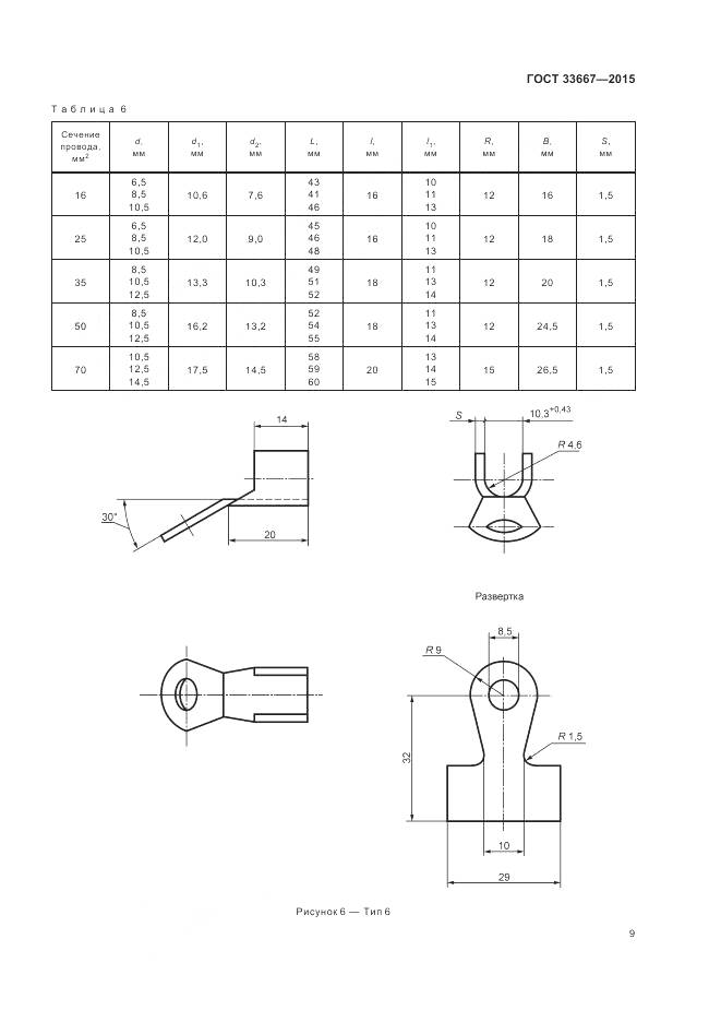
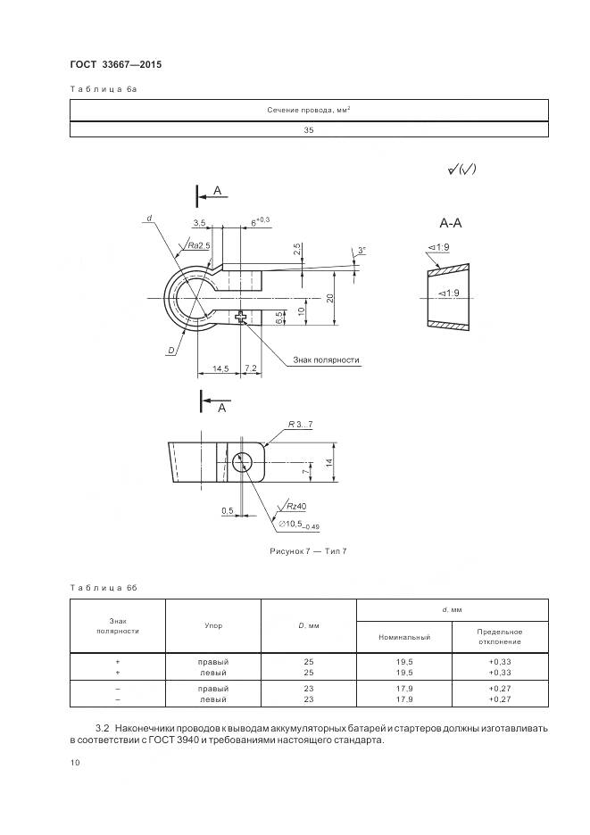
Настоящий стандарт распространяется на наконечники автотракторных проводов к выводам аккумуляторных батарей и стартеров
Документ принят орг-ей:
Межгосударственный Совет по стандартизации метрологии и сертификации, протокол №48-П
Ключевые слова документа:
аккумуляторные батареи, наконечники автотракторных проводов, стартеры

Скачать ГОСТ 33667-2015 вы можете в следующих версиях:

Тип файла:
Дата добавления:
Загрузок:
Размер:
Тип файла:
PDF с изображениями
Добавлен:
20/11/2025 15:29
Скачиваний:
1
Размер файла:
0.78 Мб
  • ГОСТ 33667-2015, страница 1 страница 1
  • ГОСТ 33667-2015, страница 2 страница 2
  • ГОСТ 33667-2015, страница 3 страница 3
  • ГОСТ 33667-2015, страница 4 страница 4
  • ГОСТ 33667-2015, страница 5 страница 5
  • ГОСТ 33667-2015, страница 6 страница 6
  • ГОСТ 33667-2015, страница 7 страница 7
  • ГОСТ 33667-2015, страница 8 страница 8
  • ГОСТ 33667-2015, страница 9 страница 9
  • ГОСТ 33667-2015, страница 10 страница 10
  • ГОСТ 33667-2015, страница 11 страница 11
  • ГОСТ 33667-2015, страница 12 страница 12
  • ГОСТ 33667-2015, страница 13 страница 13
  • ГОСТ 33667-2015, страница 14 страница 14
  • ГОСТ 33667-2015, страница 15 страница 15
  • ГОСТ 33667-2015, страница 16 страница 16