ГОСТ 33619-2015 Угли бурые, каменные и антрацит. Стандартный метод определения прочности на сбрасывание

Категории ГОСТ 33619-2015 по ОКС:
Статус документа:
действует, введён в действие 01.04.2017
Название на английском языке:
Brow coals, hard coals and anthracite. Method for determination of drop shatter test
Дата актуализации информации по стандарту:
22.01.2026, в 19:57 (менее месяца назад)
Вид стандарта:
Стандарты на методы контроля
Дата начала действия ГОСТа:
2017-04-01
Дата последнего издания документа:
2016-04-06
Число страниц:
8
Назначение ГОСТ 33619-2015:
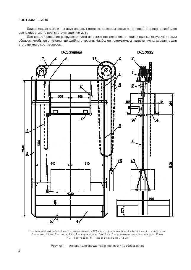
Настоящий стандарт распространяется на угли бурые и лигниты, угли каменные, антрациты (далее-угли) и устанавливает метод определения прочности угля на сбрасывание. Метод включает определение относительного стабильного размера и хрупкости угля, сортированного по крупности
Документ разработан орг-ей:
Федеральное агентство по техническому регулированию и метрологии (Росстандарт)
Документ принят орг-ей:
Межгосударственный Совет по стандартизации метрологии и сертификации, протокол №81-П
Ключевые слова документа:
прочность, уголь

Скачать ГОСТ 33619-2015 вы можете в следующих версиях:

Тип файла:
Дата добавления:
Загрузок:
Размер:
Тип файла:
PDF с изображениями
Добавлен:
20/11/2025 15:32
Скачиваний:
28
Размер файла:
0.66 Мб
  • ГОСТ 33619-2015, страница 1 страница 1
  • ГОСТ 33619-2015, страница 2 страница 2
  • ГОСТ 33619-2015, страница 3 страница 3
  • ГОСТ 33619-2015, страница 4 страница 4
  • ГОСТ 33619-2015, страница 5 страница 5
  • ГОСТ 33619-2015, страница 6 страница 6
  • ГОСТ 33619-2015, страница 7 страница 7
  • ГОСТ 33619-2015, страница 8 страница 8