ГОСТ 30284-2017 Изоляторы для контактной сети железных дорог. Общие технические условия

Категории ГОСТ 30284-2017 по ОКС:
Статус документа:
действует, введён в действие 01.04.2018
Название на английском языке:
Insulators for contact net of railways. General specifications
Дата актуализации информации по стандарту:
30.10.2025, в 11:36 (менее 3 месяцев назад)
Вид стандарта:
Стандарты на продукцию (услуги)
Дата начала действия ГОСТа:
2018-04-01
Дата последнего издания документа:
2017-10-10
Число страниц:
25
Назначение ГОСТ 30284-2017:
Настоящий стандарт распространяется на стержневые фарфоровые и полимерные и тарельчатые стеклянные изоляторы в климатическом исполнении УХЛ категории размещения 1 по ГОСТ 15150, отвечающие требованиям ГОСТ 15543.1, предназначенные для изоляции и крепления устройств контактной сети железных дорог постоянного и переменного тока напряжением не выше 29 кВ
Документ принят орг-ей:
Межгосударственный Совет по стандартизации метрологии и сертификации, протокол №101-П
Ключевые слова документа:
изоляторы, контактная сеть железных дорог

Скачать ГОСТ 30284-2017 вы можете в следующих версиях:

Тип файла:
Дата добавления:
Загрузок:
Размер:
Тип файла:
PDF с изображениями
Добавлен:
20/11/2025 14:31
Скачиваний:
3
Размер файла:
1.63 Мб
  • ГОСТ 30284-2017, страница 1 страница 1
  • ГОСТ 30284-2017, страница 2 страница 2
  • ГОСТ 30284-2017, страница 3 страница 3
  • ГОСТ 30284-2017, страница 4 страница 4
  • ГОСТ 30284-2017, страница 5 страница 5
  • ГОСТ 30284-2017, страница 6 страница 6
  • ГОСТ 30284-2017, страница 7 страница 7
  • ГОСТ 30284-2017, страница 8 страница 8
  • ГОСТ 30284-2017, страница 9 страница 9
  • ГОСТ 30284-2017, страница 10 страница 10
  • ГОСТ 30284-2017, страница 11 страница 11
  • ГОСТ 30284-2017, страница 12 страница 12
  • ГОСТ 30284-2017, страница 13 страница 13
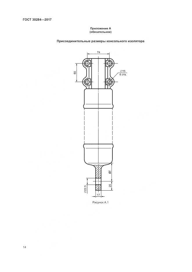
  • ГОСТ 30284-2017, страница 14 страница 14
  • ГОСТ 30284-2017, страница 15 страница 15
  • ГОСТ 30284-2017, страница 16 страница 16
  • ГОСТ 30284-2017, страница 17 страница 17
  • ГОСТ 30284-2017, страница 18 страница 18
  • ГОСТ 30284-2017, страница 19 страница 19
  • ГОСТ 30284-2017, страница 20 страница 20
  • ГОСТ 30284-2017, страница 21 страница 21
  • ГОСТ 30284-2017, страница 22 страница 22
  • ГОСТ 30284-2017, страница 23 страница 23
  • ГОСТ 30284-2017, страница 24 страница 24
  • ГОСТ 30284-2017, страница 25 страница 25