ГОСТ 28487-2018 Соединения резьбовые упорные с замковой резьбой элементов бурильных колонн. Общие технические требования

Категории ГОСТ 28487-2018 по ОКС:
Статус документа:
действует, введён в действие 01.01.2020
Название на английском языке:
Thread shouldered connections with tool-joint thread of drill string elements. General technical requirements
Дата актуализации информации по стандарту:
01.11.2025, в 10:20 (менее 3 месяцев назад)
Вид стандарта:
Стандарты на продукцию (услуги)
Дата начала действия ГОСТа:
2020-01-01
Дата последнего издания документа:
2018-10-02
Число страниц:
35
Назначение ГОСТ 28487-2018:
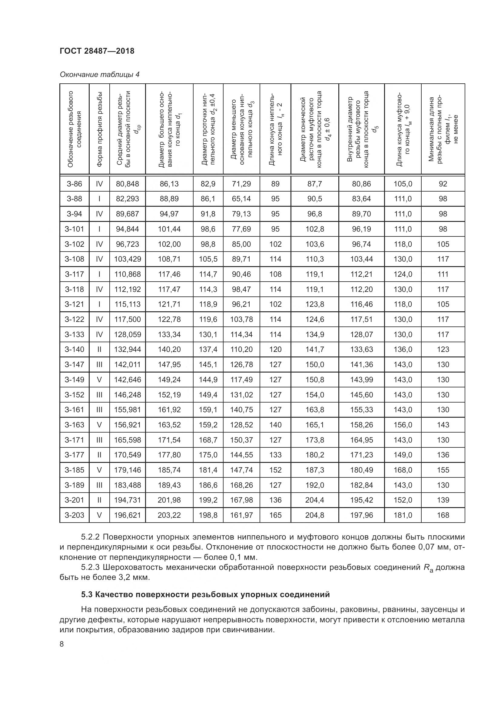
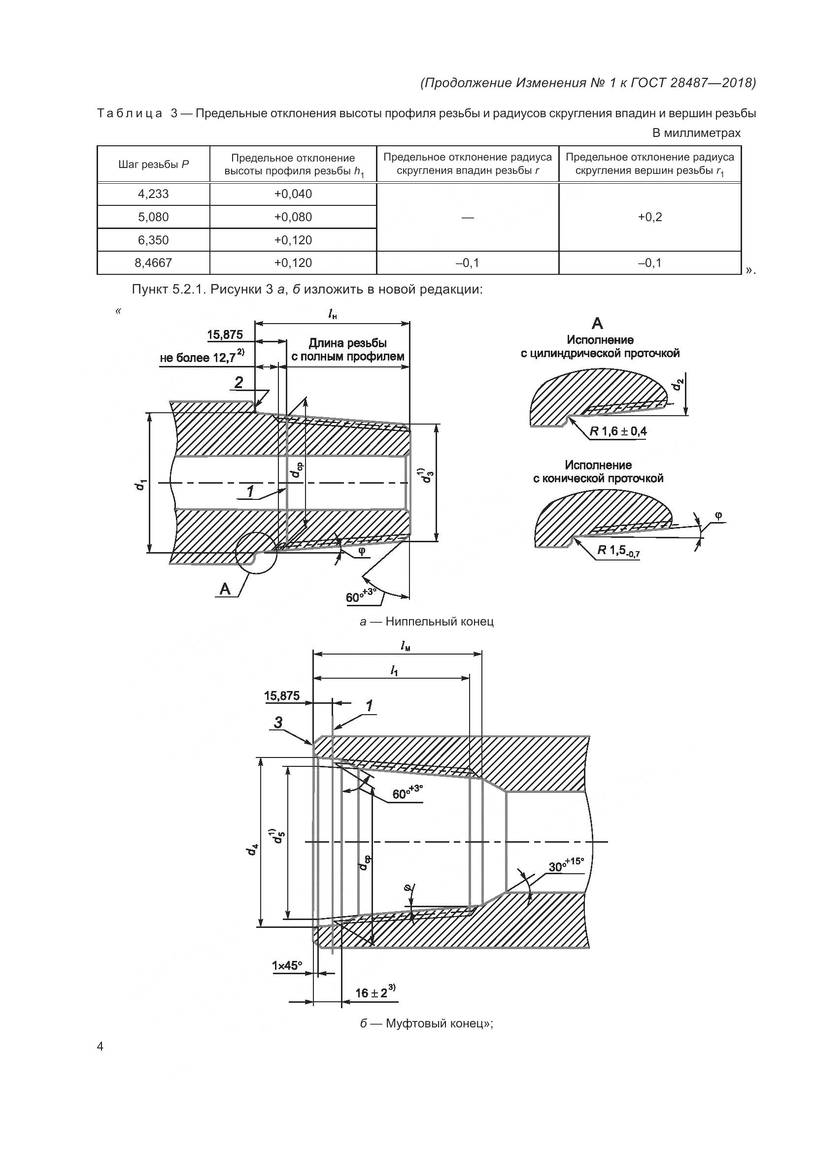
Настоящий стандарт распространяется на резьбовые упорные соединения с замковой резьбой элементов бурильных колонн и устанавливает требования к основным геометрическим параметрам соединений, качеству поверхности и нанесению покрытий, а также требования к разгрузочным элементам, контрольным меткам, холодному деформационному упрочнению и приработке соединений
Документ разработан орг-ей:
Федеральное агентство по техническому регулированию и метрологии (Росстандарт)
Документ принят орг-ей:
Межгосударственный Совет по стандартизации метрологии и сертификации, протокол №107-П
Ключевые слова документа:
взаимозаменяемость резьбовых упорных соединений, замковая резьба, контрольные метки, муфтовый конец, ниппельный конец, приработка, разгрузочные элементы, резьбовые упорные соединения, упорные элементы, холодное деформационное упрочнение, эквивалентные резьбовые упорные соединения, элементы бурильной колонны

Скачать ГОСТ 28487-2018 вы можете в следующих версиях:

Тип файла:
Дата добавления:
Загрузок:
Размер:
Тип файла:
PDF с изображениями
Добавлен:
20/11/2025 14:16
Скачиваний:
9
Размер файла:
8.45 Мб
  • ГОСТ 28487-2018, страница 1 страница 1
  • ГОСТ 28487-2018, страница 2 страница 2
  • ГОСТ 28487-2018, страница 3 страница 3
  • ГОСТ 28487-2018, страница 4 страница 4
  • ГОСТ 28487-2018, страница 5 страница 5
  • ГОСТ 28487-2018, страница 6 страница 6
  • ГОСТ 28487-2018, страница 7 страница 7
  • ГОСТ 28487-2018, страница 8 страница 8
  • ГОСТ 28487-2018, страница 9 страница 9
  • ГОСТ 28487-2018, страница 10 страница 10
  • ГОСТ 28487-2018, страница 11 страница 11
  • ГОСТ 28487-2018, страница 12 страница 12
  • ГОСТ 28487-2018, страница 13 страница 13
  • ГОСТ 28487-2018, страница 14 страница 14
  • ГОСТ 28487-2018, страница 15 страница 15
  • ГОСТ 28487-2018, страница 16 страница 16
  • ГОСТ 28487-2018, страница 17 страница 17
  • ГОСТ 28487-2018, страница 18 страница 18
  • ГОСТ 28487-2018, страница 19 страница 19
  • ГОСТ 28487-2018, страница 20 страница 20
  • ГОСТ 28487-2018, страница 21 страница 21
  • ГОСТ 28487-2018, страница 22 страница 22
  • ГОСТ 28487-2018, страница 23 страница 23
  • ГОСТ 28487-2018, страница 24 страница 24
  • ГОСТ 28487-2018, страница 25 страница 25
  • ГОСТ 28487-2018, страница 26 страница 26
  • ГОСТ 28487-2018, страница 27 страница 27
  • ГОСТ 28487-2018, страница 28 страница 28
  • ГОСТ 28487-2018, страница 29 страница 29
  • ГОСТ 28487-2018, страница 30 страница 30
  • ГОСТ 28487-2018, страница 31 страница 31
  • ГОСТ 28487-2018, страница 32 страница 32
  • ГОСТ 28487-2018, страница 33 страница 33
  • ГОСТ 28487-2018, страница 34 страница 34
  • ГОСТ 28487-2018, страница 35 страница 35