ГОСТ 26513-85 Инструмент для холодноштамповочных автоматов. Пуансоны второго перехода. Конструкция и размеры

Категории ГОСТ 26513-85 по ОКС:
Статус документа:
действует, введён в действие 01.07.1987
Название на английском языке:
Tools for cold-forming machines. 2-D station punches. Construсtion and dimensions
Дата актуализации информации по стандарту:
15.09.2019, в 10:26 (более года назад)
Вид стандарта:
Стандарты на продукцию (услуги)
Дата начала действия ГОСТа:
1987-07-01
Дата последнего издания документа:
1985-10-29
Коды документа ГОСТ 26513-85:
Код ОКП:
396329
Код КГС:
Г22
Код ОКСТУ:
3963
Число страниц:
26
Назначение ГОСТ 26513-85:
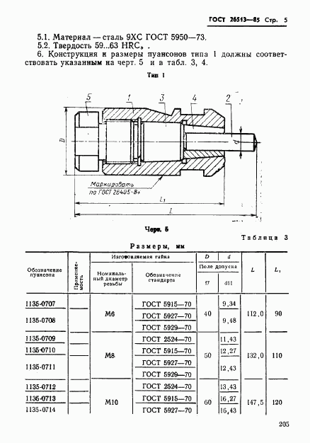
Настоящий стандарт распространяется на пуансоны второго перехода к автомату АА1617 и пуансоны типа 1, 2 к автоматам АВ1818, АВ1819, АВ1820, АВ1821, АВ1822, АВ1823 для высадки заготовок гаек номинальным диаметром резьбы от 4 до 20 мм
ГРНТИ индекс(ы):
553131
Этот ГОСТ входит в сборник:
Инструмент для производства гаек на холодноштамповочных автоматах
Ключевые слова документа:
высадка заготовок гаек, инструмент, пуансоны второго перехода

Скачать ГОСТ 26513-85 вы можете в следующих версиях:

Тип файла:
Дата добавления:
Загрузок:
Размер:
Тип файла:
PDF с изображениями
Добавлен:
12/12/2011 02:02
Скачиваний:
122
Размер файла:
0.66 Мб
Тип файла:
PDF с изображениями
Добавлен:
12/12/2011 01:57
Скачиваний:
158
Размер файла:
0.62 Мб

Поправки и изменения к ГОСТ 26513-85:

  • Наименование, вид:
    Дата
    регистрации:
    начала действия:
  • Изменение №1 к ГОСТ 26513-85

    Тип изменения: Текстовое изменение
    Номер изменения: 1
    Регистрационный номер: 3807
    Новое значение: -

    1989-12-19
    1991-01-01
  • ГОСТ 26513-85, страница 1 страница 1
  • ГОСТ 26513-85, страница 2 страница 2
  • ГОСТ 26513-85, страница 3 страница 3
  • ГОСТ 26513-85, страница 4 страница 4
  • ГОСТ 26513-85, страница 5 страница 5
  • ГОСТ 26513-85, страница 6 страница 6
  • ГОСТ 26513-85, страница 7 страница 7
  • ГОСТ 26513-85, страница 8 страница 8
  • ГОСТ 26513-85, страница 9 страница 9
  • ГОСТ 26513-85, страница 10 страница 10
  • ГОСТ 26513-85, страница 11 страница 11
  • ГОСТ 26513-85, страница 12 страница 12
  • ГОСТ 26513-85, страница 13 страница 13
  • ГОСТ 26513-85, страница 14 страница 14
  • ГОСТ 26513-85, страница 15 страница 15
  • ГОСТ 26513-85, страница 16 страница 16
  • ГОСТ 26513-85, страница 17 страница 17
  • ГОСТ 26513-85, страница 18 страница 18
  • ГОСТ 26513-85, страница 19 страница 19
  • ГОСТ 26513-85, страница 20 страница 20
  • ГОСТ 26513-85, страница 21 страница 21
  • ГОСТ 26513-85, страница 22 страница 22
  • ГОСТ 26513-85, страница 23 страница 23
  • ГОСТ 26513-85, страница 24 страница 24
  • ГОСТ 26513-85, страница 25 страница 25
  • ГОСТ 26513-85, страница 26 страница 26