ГОСТ 25557-2006 Конусы инструментальные. Основные размеры

Категории ГОСТ 25557-2006 по ОКС:
Статус документа:
заменен, введён в действие 01.01.2008
Название на английском языке:
Machine tools tapers. Basic dimensions
Дата актуализации информации по стандарту:
14.09.2019, в 18:03 (более года назад)
Вид стандарта:
Стандарты на продукцию (услуги)
Дата начала действия ГОСТа:
2008-01-01
Срок действия ограничен:
01.01.2018
Дата последнего издания документа:
2007-12-17
Коды документа ГОСТ 25557-2006:
Код ОКП:
390000
Код КГС:
Г23
Число страниц:
13
Назначение ГОСТ 25557-2006:
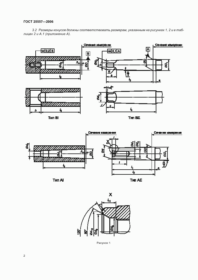
Настоящий стандарт устанавливает размеры наружных и внутренних конусов инструментальных хвостовиков трех категорий: общего применения; малые; большие. Настоящий стандарт также определяет размеры пазов канавок и отверстий, необходимых для конструирования конусов, в случае подачи смазочно-охлаждающей жидкости через инструмент
Документ разработан орг-ей:
Федеральное агентство по техническому регулированию и метрологии
Документ принят орг-ей:
Межгосударственный Совет по стандартизации метрологии и сертификации, протокол №29
Ключевые слова документа:
большие конуса, конуса Браун и Шарп, конуса Морзе, конусы общего применения, малые конуса, метрические конуса

Скачать ГОСТ 25557-2006 вы можете в следующих версиях:

Тип файла:
Дата добавления:
Загрузок:
Размер:
Тип файла:
PDF с изображениями
Добавлен:
12/12/2011 02:01
Скачиваний:
1218
Размер файла:
0.47 Мб
Тип файла:
PDF с изображениями
Добавлен:
12/12/2011 02:01
Скачиваний:
1219
Размер файла:
0.47 Мб

Поправки и изменения к ГОСТ 25557-2006:

  • Наименование, вид:
    Дата
    регистрации:
    начала действия:
  • Поправка к ГОСТ 25557-2006

    Тип изменения: Поправка
    Номер изменения:
    Регистрационный номер:
    Новое значение: опечатки

    2008-05-01
    2008-05-01
  • ГОСТ 25557-2006, страница 1 страница 1
  • ГОСТ 25557-2006, страница 2 страница 2
  • ГОСТ 25557-2006, страница 3 страница 3
  • ГОСТ 25557-2006, страница 4 страница 4
  • ГОСТ 25557-2006, страница 5 страница 5
  • ГОСТ 25557-2006, страница 6 страница 6
  • ГОСТ 25557-2006, страница 7 страница 7
  • ГОСТ 25557-2006, страница 8 страница 8
  • ГОСТ 25557-2006, страница 9 страница 9
  • ГОСТ 25557-2006, страница 10 страница 10
  • ГОСТ 25557-2006, страница 11 страница 11
  • ГОСТ 25557-2006, страница 12 страница 12