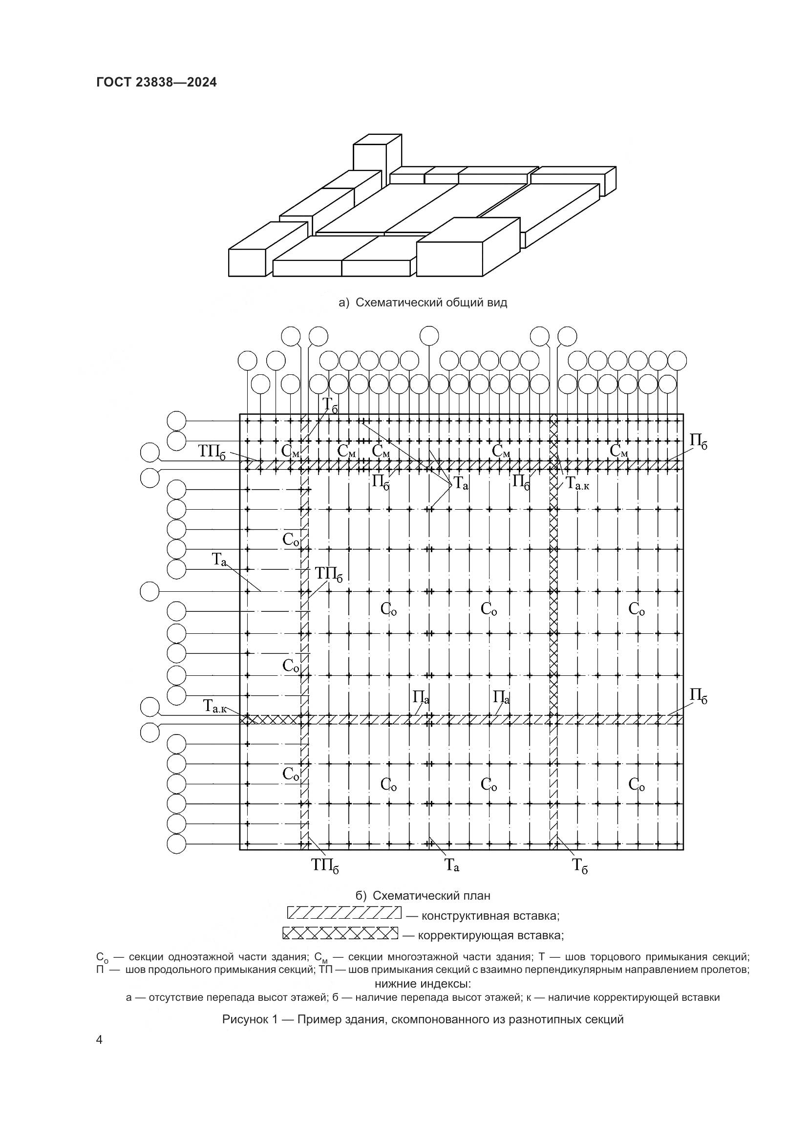
ГОСТ 23838-2024 Здания предприятий. Параметры

Категории ГОСТ 23838-2024 по ОКС:
Статус документа:
действует, введён в действие 01.06.2025
Название на английском языке:
Buildings of enterprises. Parameters
Дата актуализации информации по стандарту:
16.10.2025, в 13:47 (менее полугода назад)
Вид стандарта:
временно не известен
Дата начала действия ГОСТа:
2025-06-01
Число страниц:
12
Назначение ГОСТ 23838-2024:
не указано

Скачать ГОСТ 23838-2024 вы можете в следующих версиях:

Тип файла:
Дата добавления:
Загрузок:
Размер:
Тип файла:
PDF с изображениями
Добавлен:
21/11/2025 11:24
Скачиваний:
28
Размер файла:
2.36 Мб
  • ГОСТ 23838-2024, страница 1 страница 1
  • ГОСТ 23838-2024, страница 2 страница 2
  • ГОСТ 23838-2024, страница 3 страница 3
  • ГОСТ 23838-2024, страница 4 страница 4
  • ГОСТ 23838-2024, страница 5 страница 5
  • ГОСТ 23838-2024, страница 6 страница 6
  • ГОСТ 23838-2024, страница 7 страница 7
  • ГОСТ 23838-2024, страница 8 страница 8
  • ГОСТ 23838-2024, страница 9 страница 9
  • ГОСТ 23838-2024, страница 10 страница 10
  • ГОСТ 23838-2024, страница 11 страница 11
  • ГОСТ 23838-2024, страница 12 страница 12