ГОСТ 21760-76 Головки винторезные самооткрывающиеся с круглыми гребенками. Типы и основные размеры

Категории ГОСТ 21760-76 по ОКС:
Статус документа:
действует, введён в действие 01.01.1978
Название на английском языке:
Self-opening threadcutting die heads with circular chasets. Tipes and main dimensions
Дата актуализации информации по стандарту:
12.09.2019, в 19:55 (более года назад)
Вид стандарта:
Стандарты на продукцию (услуги)
Дата начала действия ГОСТа:
1978-01-01
Дата последнего издания документа:
1982-09-01
Коды документа ГОСТ 21760-76:
Код ОКП:
392514
Код КГС:
Г23
Код ОКСТУ:
3925
Число страниц:
19
Назначение ГОСТ 21760-76:
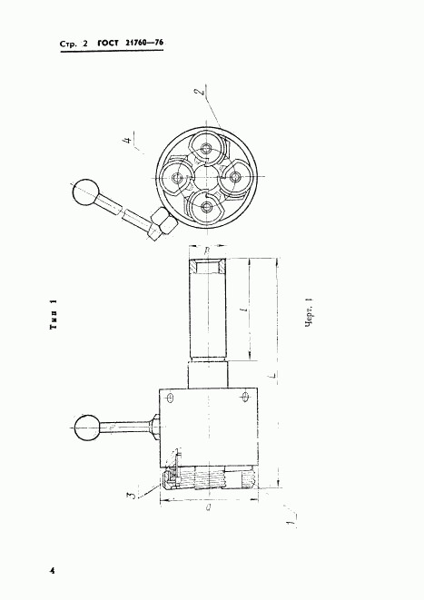
Настоящий стандарт распространяется на самооткрывающиеся винторезные головки с круглыми гребенками, предназначенные для нарезания наружной метрической резьбы диаметром от 4 до 60 мм с шагом до 4 мм
ГРНТИ индекс(ы):
553129
Этот ГОСТ входит в сборник:
Головки винторезные самооткрывающиеся с круглыми гребенками
Ключевые слова документа:
размеры, самооткрывающие винторезные головки, типы

Скачать ГОСТ 21760-76 вы можете в следующих версиях:

Тип файла:
Дата добавления:
Загрузок:
Размер:
Тип файла:
PDF с изображениями
Добавлен:
12/12/2011 02:00
Скачиваний:
225
Размер файла:
0.58 Мб
Тип файла:
PDF с изображениями
Добавлен:
12/12/2011 01:57
Скачиваний:
236
Размер файла:
0.62 Мб

Поправки и изменения к ГОСТ 21760-76:

  • Наименование, вид:
    Дата
    регистрации:
    начала действия:
  • Изменение №1 к ГОСТ 21760-76

    Тип изменения: Текстовое изменение
    Номер изменения: 1
    Регистрационный номер: 2052

    1982-05-24
    1982-10-01
  • ГОСТ 21760-76, страница 1 страница 1
  • ГОСТ 21760-76, страница 2 страница 2
  • ГОСТ 21760-76, страница 3 страница 3
  • ГОСТ 21760-76, страница 4 страница 4
  • ГОСТ 21760-76, страница 5 страница 5
  • ГОСТ 21760-76, страница 6 страница 6
  • ГОСТ 21760-76, страница 7 страница 7
  • ГОСТ 21760-76, страница 8 страница 8
  • ГОСТ 21760-76, страница 9 страница 9
  • ГОСТ 21760-76, страница 10 страница 10
  • ГОСТ 21760-76, страница 11 страница 11
  • ГОСТ 21760-76, страница 12 страница 12
  • ГОСТ 21760-76, страница 13 страница 13
  • ГОСТ 21760-76, страница 14 страница 14
  • ГОСТ 21760-76, страница 15 страница 15
  • ГОСТ 21760-76, страница 16 страница 16
  • ГОСТ 21760-76, страница 17 страница 17
  • ГОСТ 21760-76, страница 18 страница 18
  • ГОСТ 21760-76, страница 19 страница 19