ГОСТ 17123-79 Круги эльборовые шлифовальные. Типы и основные размеры

Категории ГОСТ 17123-79 по ОКС:
Статус документа:
утратил силу в рф, введён в действие 01.01.1981
Название на английском языке:
Elbor grinding wheels. Types and basic dimensions
Дата актуализации информации по стандарту:
12.09.2019, в 17:49 (более года назад)
Вид стандарта:
Стандарты на продукцию (услуги)
Дата начала действия ГОСТа:
1981-01-01
Срок действия ограничен:
01.01.2012
Дата последнего издания документа:
1997-12-01
Коды документа ГОСТ 17123-79:
Код ОКП:
397700
Код КГС:
Г25
Код ОКСТУ:
3977
Число страниц:
29
Назначение ГОСТ 17123-79:
Настоящий стандарт распространяется на эльборовые шлифовальные круги на керамической и органической связках. Стандарт устанавливает требования к продукции, изготовляемой для нужд народного хозяйства и экспорта
ГРНТИ индекс(ы):
553135

Скачать ГОСТ 17123-79 вы можете в следующих версиях:

Тип файла:
Дата добавления:
Загрузок:
Размер:
Тип файла:
PDF с изображениями
Добавлен:
12/12/2011 01:57
Скачиваний:
321
Размер файла:
0.43 Мб
Тип файла:
PDF с изображениями
Добавлен:
12/12/2011 01:59
Скачиваний:
326
Размер файла:
0.58 Мб

Поправки и изменения к ГОСТ 17123-79:

  • Наименование, вид:
    Дата
    регистрации:
    начала действия:
  • Изменение к ГОСТ 17123-79. Утратил силу в РФ

    Тип изменения: Утратил силу в РФ
    Номер изменения:
    Регистрационный номер: 398-ст
    Новое значение: Утратил силу на территории РФ, с 01.01.2012 пользоваться ГОСТ Р 53923-2010

    2010-11-12
    2012-01-01
  • Изменение №1 к ГОСТ 17123-79

    Тип изменения: Текстовое изменение
    Номер изменения: 1
    Регистрационный номер: 1001

    1985-04-05
    1985-07-01
  • Изменение №2 к ГОСТ 17123-79

    Тип изменения: Текстовое изменение
    Номер изменения: 2
    Регистрационный номер: 2687
    Новое значение: -

    1988-07-19
    1989-07-01
  • Изменение №3 к ГОСТ 17123-79

    Тип изменения: Текстовое изменение
    Номер изменения: 3
    Регистрационный номер: 571
    Новое значение: -

    1992-06-23
    1993-01-01
  • ГОСТ 17123-79, страница 1 страница 1
  • ГОСТ 17123-79, страница 2 страница 2
  • ГОСТ 17123-79, страница 3 страница 3
  • ГОСТ 17123-79, страница 4 страница 4
  • ГОСТ 17123-79, страница 5 страница 5
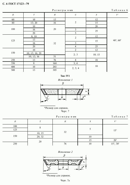
  • ГОСТ 17123-79, страница 6 страница 6
  • ГОСТ 17123-79, страница 7 страница 7
  • ГОСТ 17123-79, страница 8 страница 8
  • ГОСТ 17123-79, страница 9 страница 9
  • ГОСТ 17123-79, страница 10 страница 10
  • ГОСТ 17123-79, страница 11 страница 11
  • ГОСТ 17123-79, страница 12 страница 12
  • ГОСТ 17123-79, страница 13 страница 13
  • ГОСТ 17123-79, страница 14 страница 14
  • ГОСТ 17123-79, страница 15 страница 15
  • ГОСТ 17123-79, страница 16 страница 16
  • ГОСТ 17123-79, страница 17 страница 17
  • ГОСТ 17123-79, страница 18 страница 18
  • ГОСТ 17123-79, страница 19 страница 19
  • ГОСТ 17123-79, страница 20 страница 20
  • ГОСТ 17123-79, страница 21 страница 21
  • ГОСТ 17123-79, страница 22 страница 22
  • ГОСТ 17123-79, страница 23 страница 23
  • ГОСТ 17123-79, страница 24 страница 24
  • ГОСТ 17123-79, страница 25 страница 25
  • ГОСТ 17123-79, страница 26 страница 26
  • ГОСТ 17123-79, страница 27 страница 27
  • ГОСТ 17123-79, страница 28 страница 28
  • ГОСТ 17123-79, страница 29 страница 29