ГОСТ 13983-93 Блоки универсальные молотовых штампов для призматических вставок. Конструкция

Категории ГОСТ 13983-93 по ОКС:
Статус документа:
действует, введён в действие 01.01.1995
Название на английском языке:
Units of general purpose adjusting dies for interchangeable prismatic. Design
Дата актуализации информации по стандарту:
05.08.2025, в 17:52 (менее полугода назад)
Вид стандарта:
Стандарты на продукцию (услуги)
Дата начала действия ГОСТа:
1995-01-01
Дата последнего издания документа:
1995-07-13
Коды документа ГОСТ 13983-93:
Код ОКП:
396311
Код КГС:
Г21
Код ОКСТУ:
3963
Число страниц:
18
Назначение ГОСТ 13983-93:
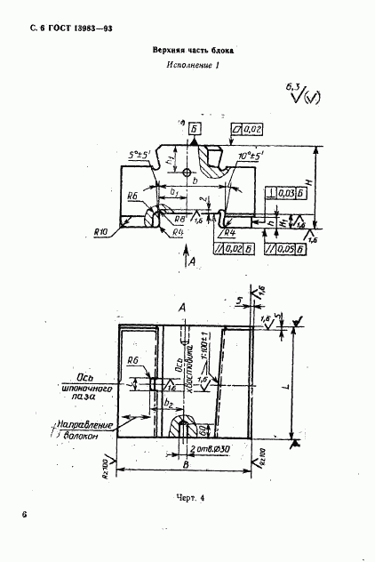
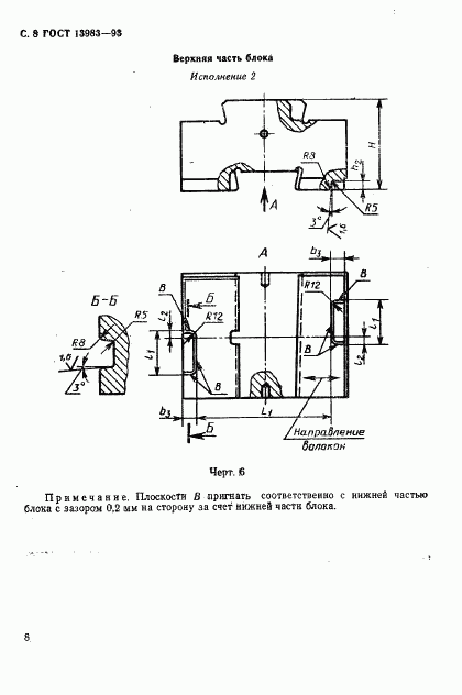
Настоящий стандарт распространяется на универсальные блоки молотовых штампов под призматические вставки, предназначенные для установки на штамповочных паровоздушных молотах с массой падающих частей 630, 1000, 2000 и 3150 кг
ГРНТИ индекс(ы):
5515
Документ разработан орг-ей:
Технический секретариат Межгосударственного Совета по стандартизации, метрологии и сертификации
Документ принят орг-ей:
Межгосударственный Совет по стандартизации метрологии и сертификации
Этот ГОСТ входит в сборник:
Блоки универсальные и вставки призматические молотовых штампов. Конструкция
Ключевые слова документа:
блоки, вставки

Скачать ГОСТ 13983-93 вы можете в следующих версиях:

Тип файла:
Дата добавления:
Загрузок:
Размер:
Тип файла:
PDF с изображениями
Добавлен:
12/12/2011 01:57
Скачиваний:
151
Размер файла:
0.44 Мб
  • ГОСТ 13983-93, страница 1 страница 1
  • ГОСТ 13983-93, страница 2 страница 2
  • ГОСТ 13983-93, страница 3 страница 3
  • ГОСТ 13983-93, страница 4 страница 4
  • ГОСТ 13983-93, страница 5 страница 5
  • ГОСТ 13983-93, страница 6 страница 6
  • ГОСТ 13983-93, страница 7 страница 7
  • ГОСТ 13983-93, страница 8 страница 8
  • ГОСТ 13983-93, страница 9 страница 9
  • ГОСТ 13983-93, страница 10 страница 10
  • ГОСТ 13983-93, страница 11 страница 11
  • ГОСТ 13983-93, страница 12 страница 12
  • ГОСТ 13983-93, страница 13 страница 13
  • ГОСТ 13983-93, страница 14 страница 14
  • ГОСТ 13983-93, страница 15 страница 15
  • ГОСТ 13983-93, страница 16 страница 16
  • ГОСТ 13983-93, страница 17 страница 17
  • ГОСТ 13983-93, страница 18 страница 18