ГОСТ 13579-2018 Блоки бетонные для стен подвалов. Технические условия

Категории ГОСТ 13579-2018 по ОКС:
Статус документа:
действует, введён в действие 01.05.2019
Название на английском языке:
Сoncrete blocks for walls of basements. Specifications
Дата актуализации информации по стандарту:
05.11.2025, в 14:37 (менее 3 месяцев назад)
Вид стандарта:
Стандарты на продукцию (услуги)
Дата начала действия ГОСТа:
2019-05-01
Дата последнего издания документа:
2018-10-30
Число страниц:
18
Назначение ГОСТ 13579-2018:
Настоящий стандарт распространяется на блоки, изготовляемые из тяжелого бетона, а также легкого и плотного силикатного бетона средней плотности не менее 1800 кг/м в кубе и предназначенные для стен подвалов и технических подпольев зданий. Настоящий стандарт устанавливает типы и конструкции бетонных блоков стен подвалов, технические требования к ним. Сплошные блоки допускается применять для фундаментов. Требования настоящего стандарта следует учитывать при разработке нормативных документов и рабочей документации на бетонные блоки стен подвалов конкретных типов
Документ принят орг-ей:
Межгосударственный Совет по стандартизации метрологии и сертификации, протокол №109-П
Ключевые слова документа:
бетон, блок бетонный, блок подвала, длина и ширина, класс, марка, монтажная петля, технические требования

Скачать ГОСТ 13579-2018 вы можете в следующих версиях:

Тип файла:
Дата добавления:
Загрузок:
Размер:
Тип файла:
PDF с изображениями
Добавлен:
20/11/2025 14:14
Скачиваний:
3
Размер файла:
3.8 Мб

Поправки и изменения к ГОСТ 13579-2018:

  • Наименование, вид:
    Дата
    регистрации:
    начала действия:
  • Поправка к ГОСТ 13579-2018

    Тип изменения: Поправка
    Номер изменения:
    Регистрационный номер: -

    2025-04-22
    2025-05-13
  • ГОСТ 13579-2018, страница 1 страница 1
  • ГОСТ 13579-2018, страница 2 страница 2
  • ГОСТ 13579-2018, страница 3 страница 3
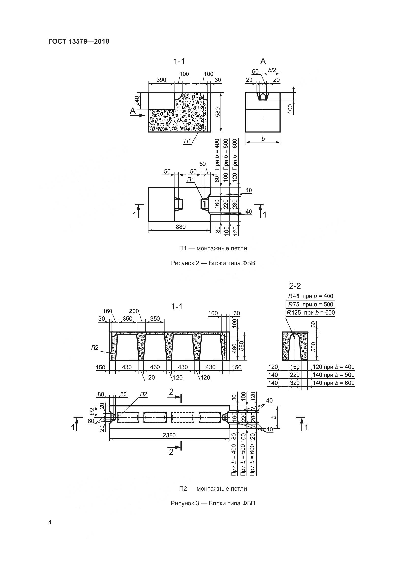
  • ГОСТ 13579-2018, страница 4 страница 4
  • ГОСТ 13579-2018, страница 5 страница 5
  • ГОСТ 13579-2018, страница 6 страница 6
  • ГОСТ 13579-2018, страница 7 страница 7
  • ГОСТ 13579-2018, страница 8 страница 8
  • ГОСТ 13579-2018, страница 9 страница 9
  • ГОСТ 13579-2018, страница 10 страница 10
  • ГОСТ 13579-2018, страница 11 страница 11
  • ГОСТ 13579-2018, страница 12 страница 12
  • ГОСТ 13579-2018, страница 13 страница 13
  • ГОСТ 13579-2018, страница 14 страница 14
  • ГОСТ 13579-2018, страница 15 страница 15
  • ГОСТ 13579-2018, страница 16 страница 16
  • ГОСТ 13579-2018, страница 17 страница 17
  • ГОСТ 13579-2018, страница 18 страница 18